搜索關鍵字:
全國服務熱線





LZT-S系列塑管浮子流量計具有結構簡單、重量輕、耐腐蝕、不易破碎、無毒無味、使用方便等特點。主要用于化工、輕工、醫藥、食品、環保等部門中,用來測量液體的單相非脈動流的流量。
400-839-1983
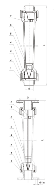
| 序號 | 名稱 | 材料 |
| 1 | 接管 | ABS |
| 2 | 螺帽 | ABS |
| 3 | “O型密封圈” | 丁晴橡膠 |
| 4 | 下止檔 | ABS |
| 5 | 浮子 | ABS包襯 |
| 6 | 錐管 | PS |
| 7 | 上止檔 | ABS |
| 8 | 導桿 | 316 |
|
注: 1、常規型接頭為ABS工程塑料沉插連接,也可用PVC沉插或ABS內螺紋連接; 2、導桿在特殊情況下可選用F46包襯304不銹鋼; 3、 “O”型圈也可選用氟橡膠等。 |
||
| 型號 | 測量范圍 | 介質 | 備注 |
|
LZT-15S (長管) |
6-60L/h | 水 | 不帶導 桿 |
| 10-100L/h | |||
| 16-160L/h | |||
| 25-250L/h | |||
| 40-400L/h | |||
| 60-600L/h | |||
|
LZT-25S (長管) |
60-600L/h | ||
| 100-1000L/h | |||
| 160-1600L/h | |||
| 250-2500L/h | |||
| 300-3000L/h | |||
|
LZT-40S (長管) |
0.4-4m3/h | ||
| 0.6-6m3/h | |||
|
LZT-50S (長管) |
0.4-4m3/h | ||
| 0.6-6m3/h | |||
| 1-10m3/h | |||
| 1.6-16m3/h | 帶導桿 | ||
|
LZT-100S LZT-125S LZT-150S |
8-50m3/h | 法蘭連 接帶導桿 | |
| 12-60m3/h | |||
| 14-90m3/h | |||
| 18-120m3/h | |||
| 18-150m3/h | |||
| 22-180m3/h | |||
| 25-200m3/h |
| 型號 | 測量范圍 | 介質 | 備注 |
|
LZT-15S (短管) |
6-60L/h | 水 | 帶導桿 |
| 10-100L/h | |||
| 16-160L/h | |||
| 25-250L/h | |||
| 40-400L/h | |||
| 60-600L/h | |||
| 100-1000L/h | |||
|
LZT-25S (短管) |
100-1000L/h | ||
| 160-1600L/h | |||
| 250-2500L/h | |||
| 300-3000L/h | |||
|
LZT-32S (短管) |
0.4-4m3/h | ||
| 0.6-6m3/h | |||
|
LZT-50S (短管) |
1-10m3/h | ||
| 1.6-16m3/h | |||
|
LZT-65S (短管) |
5-25m3/h | ||
| 8-40m3/h | |||
| 12-60m3/h | |||
| LZT-80S | 5-25m3/h | 法蘭連接帶導桿 | |
| 8-40m3/h | |||
| 12-60m3/h | |||
|
注:1.以上為常規流量,也做特殊流量。 2.流量計準確度等級4級,耐壓≤0.6Mpa,使用介質為水或濃度為30%以下稀酸或稀堿,溫度一般為0℃~40℃,短時間可用至65℃。 |
|||